Check Valve - RSV No.31 (A)
RSV No.31 (A)

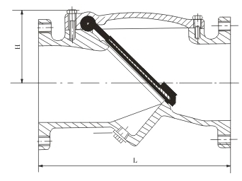
Components

1

Body

Cast Iron or Ductile Iron

2

Disc

Cast Iron or Ductile Iron

3

Hinge Pin

St. Steel

4

Bonnet

Cast Iron or Ductile Iron

Application

1

Face to face according to BS5153/MSS -SP-71

2

Flanges drilled to BS4504/ANSI B16.1/B16.5

Test

Working Pressure

PN16

125/150 PSI

Shell Pressure

PN24

300 PSI

Seat Pressure

PN17.6

200 PSI

Dimensions/Size (mm)

DN

50

65

80

100

125

150

200

250

300

350

400

450

500

600

L

203

216

241

292

330

356

496

622

699

787

912

965

1067

1210

H

86

90

98

117

130

149

194

251

310

360

420

480

520

570

Art. No. GVCDI-018 (A): PN16-BS5153

Flange Dia.

165

185

200

220

250

285

340

405

460

520

580

640

715

840

Nr.of Holes

4

4

8

8

8

8

12

12

12

16

16

20

20

20

Dia.of Hole

18

18

18

18

18

22

22

20

20

20

30

30

34

36

P. C. D.

125

145

160

180

210

240

295

355

410

470

525

585

650

770

ANSI Class 125 / Class 150

Flange Dia.

152

178

191

229

254

279

343

406

483

533

597

635

699

813

Nr.of Holes

4

4

4

8

8

8

8

12

12

12

16

16

20

20

Dia.of Hole

19

19

19

19

22

22

22

25

25

25

29

32

32

35

P. C. D.

121

139

152

191

216

241

298

362

432

476

540

578

635

749

© copyright 2011: almanit sanitary gmbh, Hamburg, Germany