|
|
 |
|
|
|
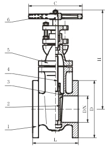
Components
|
|
1
|
Body
|
Cast Iron or Ductile Iron
|
|
2
|
Disc
|
Cast Iron or Ductile Iron
|
|
3
|
Seat
|
Brass / Cast Iron
|
|
4
|
Stem
|
Stainless Steel / Brass
|
|
5
|
Bonnet
|
Cast Iron or Ductile Iron
|
|
6
|
Hand Wheel
|
Cast Iron or Ductile Iron
|
|
 |
|
|
|
Application
|
|
1
|
Face to face according to BS3464
|
|
2
|
Flange drilled according to BS10 Table E or D
|
|
 |
|
|
|
Test
|
|
Working Pressure
|
PN10
|
PN16
|
|
Shell Pressure
|
15 Bars
|
24 Bars
|
|
Seat Pressure
|
11 Bars
|
17,6 Bars
|
|
 |
|
|
|
Dimesions/Sizes (mm)
|
|
DN
|
40
|
50
|
65
|
80
|
100
|
125
|
150
|
200
|
250
|
300
|
|
L
|
140
|
146
|
159
|
165
|
172
|
190
|
210
|
241
|
273
|
305
|
|
H
|
212
|
236
|
262
|
292
|
336
|
400
|
438
|
552
|
668
|
714
|
|
C
|
152
|
152
|
152
|
203
|
229
|
229
|
229
|
229
|
337
|
337
|
|
D
|
135
|
152
|
165
|
184
|
216
|
254
|
254
|
337
|
406
|
457
|
|
 |
 |
|
© copyright 2011: almanit sanitary gmbh, Hamburg, Germany
|
|