|
|
 |
|
|
|
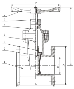
Components
|
|
1
|
Body
|
Cast Iron or Ductile Iron
|
|
2
|
Disc
|
Ductile Iron with NBR/EPDM
|
|
3
|
Bonnet
|
Cast Iron or Ductile Iron
|
|
4
|
Stem
|
Stainless Steel
|
|
5
|
O-Ring
|
NBR
|
|
6
|
Gland
|
Cast Iron or Ductile Iron
|
|
7
|
Hand Wheel
|
Cast Iron or Ductile Iron
|
|
 |
|
|
|
Application
|
|
1
|
Face to face according to BS5163:1986
|
|
2
|
Flange drilled according to BS4504
|
|
 |
|
|
|
Test
|
|
Working Pressure
|
PN10
|
PN16
|
|
Shell Pressure
|
15 Bars
|
24 Bars
|
|
Seat Pressure
|
11 Bars
|
17,6 Bars
|
|
 |
|
|
|
Dimesions/Sizes (inch)
|
|
DN
|
2
|
2.5
|
3
|
4
|
5
|
6
|
8
|
10
|
12
|
|
L
|
7
|
7,5
|
8
|
9
|
10
|
10,5
|
11,5
|
13
|
14
|
|
H
|
11
|
15,2
|
11,6
|
12,8
|
14,8
|
16,9
|
21
|
24,2
|
27,2
|
|
C
|
7,9
|
7,9
|
9,8
|
11
|
12,6
|
12,6
|
13,8
|
16
|
17,7
|
|
D
|
6,5
|
7,3
|
7,9
|
8,7
|
10
|
11
|
13,8
|
16
|
18
|
|
 |
 |
|
© copyright 2011: almanit sanitary gmbh, Hamburg, Germany
|
|