 |
 |
|
- Suitable for water and neutral liquids (sewage).
- Working temperature up to 70°C.
- Test conform to EN 12266.
- Flanges and drilling acc. to EN 1092-2.
- Fully corrosion resistant constructions.
- Inside and outside fusion bonded epoxy coatings.
- EPDM gaskets.
- vibration absorption, end movements and angular deflection +/-8 degree.
|
|
 |
|
|
|
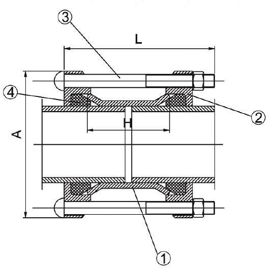
No.
|
Reference
|
Material
|
Standard
|
|
1
|
Sleeve
|
Steel / Ductile Iron
|
|
2
|
End Ring
|
GJS-400-15
|
EN 1563
|
|
3
|
Bolt & Nut
|
Steel 8.8 Zinced
|
|
4
|
Gasket
|
EPDM/NBR
|
EN 681
|
|
|